YW28系列封頭拉伸液壓機主要適用于各類壓力容器封頭的冷、熱成型壓制,也可以用于各類厚、薄鋼板的壓鼓、折邊、校平等工藝。機身采用計算機優化設計,液壓控制采用插裝閥集成系統,動作可靠,使用壽命長,液壓沖擊小,減小了連接管路與泄漏點。獨立的電氣控制系統,PLC控制,工作靈敏度可靠。采用按鈕集中控制,具有調整、雙手單次循環兩種操作方式。通過移動操作面板選擇,可實現定程、定壓兩種成型工藝,工作壓力、行程可根據工藝需要在規定范圍內可調。
出口型yw32-200噸封頭拉伸液壓機性能特點:
該機為四柱式結構,確保平穩精度高,適應于各種高精密壓裝于成型。滑塊于工作臺平行精度極高,確保合模時沒有間隙。液壓系統采用保壓閥,保壓精度高。控制系統采用數控。所有位移,壓力,時間,補壓均采用數字控制,精準方便且故障率低。所生產出產品合格率大大提高,且更加有效的提高了工作效率。
本機有定壓成型,定程成型,定時成型等多種成型方式。壓力顯示可以直接顯示噸位,行程顯示精確度高。定程定壓時均可數字控制,更加精確,大大降低了廢品率。
本機系統工業電腦控制,采用閉環式控制,各種動作可以根據用戶要求任意設置。適應于各種生產線并聯,配合各種機械手與自動送料,真正實現數控全自動。動力系統為伺服控制,真正完成節能減排,自動化智能化等功能。
可按客戶要求加工定制,如液壓機的臺面大小、行程長短、開口高低、工作壓力、運行速度、自動上下料、自動/半自動等。量身打造優質液壓機設備,滿足客戶生產工藝需求。

出口型yw32-200噸封頭拉伸液壓機技術參數直接致電聯系我們,掃一掃微信,可快速獲得


本文介紹了全自動出口型yw32-200噸封頭拉伸液壓機及生產線的用途、總體結構、封頭拉伸工藝、控制系統與封頭生產線的功能特點等。封頭生產線實現了封頭壓制過程的進料、對中、涂油、壓制、出料等全自動化,大化的提高了封頭加工效率、質量和減輕了工人的勞動強度。
出口型yw32-200噸封頭拉伸液壓機,適用于金屬板材的冷壓彎曲、拉伸成形等工藝,是生產大型封頭、拉伸圓筒、大型金屬容器的專用設備。封頭成形件如圖1所示。

圖1封頭成形件
目前各種成套生產線的研發成為市場的主流,封頭液壓機生產線是合鍛為適應市場需求而研制的。該設備專門用于封頭件的自動成形工藝。該生產線的各項技術參數均已達到水平,遠遠超過國內同行業的技術水平。該生產線的研發成功,改變了我國目前落后的產品生產工藝,對我國的生產制造業具有極其重要的意義。
生產線的總體結構
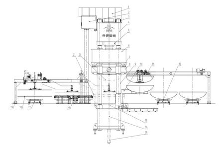
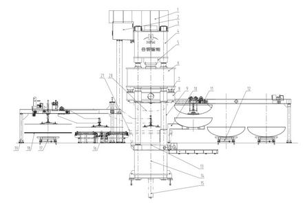
封頭拉伸液壓機及生產線其外形圖如圖2所示。封頭拉伸液壓機機身采用四柱或預緊分體框架式結構。一般成形件的封頭拉伸液壓機采用四柱式,結構簡單,經濟實用,以四立柱為導向。精度要求較高的封頭件采用預應力框架結構,以四角八面平面導軌導向,導向精度高,抗偏載能力強。
封頭拉伸液壓機及生產線主要由主機、拉伸缸、壓邊缸、上料裝置、對中裝置、頂出旋轉裝置、旋臂機構、下料裝置、成品小車、坯料小車、液壓系統、電氣系統、潤滑系統、冷卻系統等部分組成。其中主機包括上橫梁、下橫梁、立柱、螺母、拉伸滑塊、壓邊滑塊、移動工作臺等。其機身通過16個螺母、四根立柱連接成具有足夠剛度和強度的封閉結構,拉桿采用液壓預緊方式緊固,確保整機剛性。

圖2封頭拉伸液壓機外形圖
1-保護裝置2-主油箱3-螺母4-上橫梁5-拉伸油缸6-拉伸滑塊7-壓邊油缸8-壓邊滑塊9-立柱10-旋轉裝置11-下料裝置12-出料小車13-移動工作臺14-下橫梁15-頂出旋轉裝置16-對中裝置17-送料小車18-坯料19-上料裝置20-拉伸模具21-下模具
上橫梁內裝有主油缸組件,拉伸滑塊和壓邊滑塊安裝于上下梁之間,拉伸滑塊上平面與主油缸組件通過螺栓連接,拉伸滑塊下平面安裝拉伸模具連接筒,連接筒由快換油缸夾緊,壓邊缸安裝在拉伸滑塊內,下端通過法蘭連接壓邊滑塊,壓邊滑塊內安裝有快換模圈裝置。下橫梁內裝有頂出旋轉裝置,用于工件拉伸完成后頂出和旋轉涂油,在下橫梁上平面裝有移動工作臺及其提升夾緊裝置、定位裝置、貼合檢測裝置。立柱與滑塊的導向采用合金材料,硬度高,耐磨性好,導向精度高。
拉伸部分采用三缸結構,壓邊部分通常采用八缸結構。為了實現模具的快速換模,實現柔性生產,液壓機設有移動工作臺,移動工作臺可實現前后移動。移動工作臺其驅動方式為自移式,采用變頻調速,實現其快速和慢速的轉換。
上模快換裝置及接筒由內承壓筒,中承壓筒,外承壓筒,夾緊塊和液壓油缸等組成,通過更換不同的承壓筒實現與壓邊圈不同的組合完成不同規格封頭的壓制。
上料裝置:封頭的坯料由送料小車碼垛送至上料工位I,通過送料裝置將封頭的坯料從上料工位I送至上料工位Ⅱ,在該工位實現封頭坯料定位后,又將封頭坯料送至上料工位Ⅲ實現封頭的壓制。
定位裝置:該裝置的主傳動齒輪、軸、絲桿、螺母、導向桿等封閉在機身內,在機身的中心安裝主電機支架,機架的中部裝有冷壓封頭坯料的自動定中心裝置,通過它保證冷壓封頭坯料的自動定中心。
旋臂機構:通過變頻調速電機加減速機和齒輪傳動,將它的動力傳入旋臂裝置,使得該裝置繞立柱轉動,將成形后的冷壓封頭從液壓機的中部送至液壓機外側。
下料裝置:由旋臂機構送至液壓機外側的冷壓封頭經該裝置中的取料機構取出,分別送至下料工位Ⅱ和下料工位Ⅲ,通過質量檢測和碼垛后由出料小車運出。
封頭拉伸液壓機液壓系統的動力部分由上下三個油箱組成。上油箱布置于上梁后部或置于上梁頂部,為設備拉伸油缸和壓邊油缸提供動力油。下油箱1置于地面以下,為頂出旋轉裝置及提升夾緊缸部分提供動力油。下油箱2放置在上料機構上,為上料機構中的油缸提供動力油。
封頭拉伸工藝
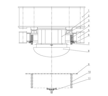
出口型yw32-200噸封頭拉伸液壓機拉伸工藝如圖3所示,凸模固定于拉伸滑塊上的上模快換裝置及接筒上,模圈安裝于壓邊滑塊內,根據不同規格工件采用不同規格模圈,壓邊圈固定于模圈上,凹模固定于移動工作臺上,頂出旋轉裝置固定于下橫梁內。

圖3封頭拉伸液壓機拉伸工藝圖示
1-拉伸滑塊2-壓邊缸3-上模快換裝置及接筒4-模圈5-壓邊滑塊6-壓邊圈安裝法蘭7-壓邊圈8-凸模9-工件10-凹模11-頂出旋轉裝置
封頭拉伸液壓機拉伸運動流程圖如圖4所示,狀態一為液壓機初始位置,狀態二為拉伸滑塊和壓邊滑塊在拉伸缸的驅動下一起快速接近工件,狀態三為拉伸滑塊不動,壓邊滑塊下行壓邊圈壓住工件,狀態四為壓邊滑塊不動(有壓邊力)拉伸滑塊下行拉伸工件,狀態五為拉伸滑塊、壓邊滑塊退回到位,頂起旋轉裝置頂起工件。其工藝流程為:液壓機初始位置→拉伸滑塊與壓邊滑塊一起快降→壓邊滑塊單獨快降→壓邊滑塊加壓→拉伸滑塊下行拉伸工件→保壓延時及卸壓→拉伸滑塊壓邊滑塊回程→頂起旋轉裝置頂起工件→(工件移走后)頂起旋轉裝置退回。頂起旋轉裝置頂出起始時間可由滑塊的回程中設定的位置激發,以提高工作頻次。

圖4封頭拉伸液壓機拉伸流程圖
控制系統
該線的液壓系統設計,需要實現對拉伸滑塊、壓邊滑塊的壓力進行獨立控制,保證生產過程中拉伸滑塊和壓邊滑塊的壓力可實時控制,互不干擾。該機的拉伸、壓邊、頂出分別設置了獨立的液壓控制回路,在各回路中設置了壓力比例控制閥、壓力傳感器,通過壓力傳感器將壓力信號轉變為電信號傳輸給PLC,可實現數字顯示和壓力比例控制,以實現封頭成形件的壓邊和拉伸、頂出等工藝。
為了保證液壓系統的穩定性、可靠性、可維護性,液壓系統中,在關鍵部位設有壓力檢測點。設有可拆卸的壓力檢測表,通過壓力檢測點可以快速的診斷液壓機出現的故障和監測液壓機的工作狀態。
本生產線主機、上下模快換系統、上料系統、定位系統、下料系統等采用電動和液壓伺服控制等技術,涉及位移傳感器、壓力傳感器、壓力繼電器、電接點壓力表、接近開關、光電開關、電磁閥、比例閥、編碼器、油缸、液壓馬達、伺服電機、變頻電機等元器件。采用PLC總線控制,通過彩色觸摸屏進行各數據的顯示和控制及預設置處理與存儲,畫面為人機交互式,可在屏幕上非常方便地預先對滑塊、壓力、時間參數進行數字預置,清晰的顯示其行程、壓力和時間參數;可以存儲模具參數100套,操作簡潔;可顯示數十條壓機工作信息,并采用故障檢測、安全保護等一系列的自動化控制技術。


小型封頭模具

拉伸液壓機壓制封頭

200噸出口型封頭拉伸液壓機

四柱式封頭拉伸成型全自動液壓機
目前公司開發出系列化的封頭生產線,熱壓封頭壓機總公稱力范圍為2000kN~150000kN,冷壓封頭總公稱力范圍為6300kN~60000kN,其主機的開口高度、滑塊行程、工作臺面、拉伸壓邊力等可根據用戶需求和壓制工藝的需要來確定。公司自主研發的封頭生產線實現了封頭壓制過程的進料、對中、涂油、壓制、出料等全自動化,大化的提高了封頭加工效率、質量和減輕了工人的勞動強度。其數控化的操作系統,在操作時只需要輸入封頭的相關參數就可實現設備的操作,大大的簡化了設備的操作。同時通過進出料裝置、模具快換裝置和主機的數控化操作等一系列的配套,實現了重型封頭液壓機的全自動控制和操作,得到國內生產廠家的認可。
中大型封頭拉伸液壓機廠家山東威力重工機床有限公司專業生產液壓機、油壓機、拉伸機、封頭拉伸機、鋼木門壓花機、不銹鋼壓花機、粉末制品成型機等液壓設備,可根據客戶要求定做,成品區存有標準設備現貨,公司擁有過硬的技術團隊,資深工程師專業設計,3D三維效果圖模擬,可提供技術支持及技術咨詢,歡迎新老客戶及海外有人前來洽談、考察。

技術質量保證標準:
全自動金屬/陶瓷/耐火材料粉末壓型四柱液壓機的設計制造及安全技術條件等應符合國家現行有關行業的標準:
GB/T5226.1—2008工業機械電氣設備通用技術條件
JB/T7343—2010單雙動薄板沖壓液壓機
JB3818—84液壓機技術條件
JB9967—1999液壓機噪音限值
JB3915—85液壓機安全技術條件
ZBJ62025—1999鍛壓機械焊接技術條件

【買家使用安全須知:】
【保養及維護】
1.工作用油推薦采用32號、46號抗磨液壓油,使用油溫在15~60攝氏度范圍內。
2.油液進行嚴格過濾后才允許加入油箱。
3.工作油液每一年更換一次,其中次更換時間不應超過三個月;
4.滑塊應經常注潤滑油,立柱外表露面應經常保持清潔,每次工作前應先噴注機油。
5.在公稱壓力500T下集中載荷大允許偏心40mm。偏心過大易使立柱拉傷或出現其它不良現象。
6.每半年校正檢查一次壓力表;
7.機器較長期停用,應將各加部位表面擦洗干凈并涂以防銹油。
【安全操作事項】
1.不了解機器結構性能或操作程序者不應擅自開動機器;
2.機器在工作過程中,不應進行檢修和調整模具;
3.當機器發現嚴重漏油或其它異常(如動作不可靠、噪聲大、振動等)時應停車分析原因,設法排除,不得帶病投入生產:
4.不得超載或超過大偏心距使用:
5.嚴禁超過滑塊的大行程,模具閉合高度小不得小于600mm。
6.電氣設備接地必須牢固可靠:
7.每天工作結束:將滑塊放至下位置。
【全自動封頭拉伸液壓機售后服務】:
自本廠出售產品因質量問題均享受質保一年,(人為操作或外力造成損傷、破壞不在保修范圍內)一年免費維修,終身成本維修。電器部分保修期六個月,機械部分保壹年。附件不在保修范圍內。

上一篇:上一篇:環衛玻璃鋼/塑料/不銹鋼垃圾桶拉伸液壓機
下一篇:下一篇:框架拉伸液壓機800t1000噸2000噸4000汽車配件拉伸機
相關產品:
























